
ZF锥形阀 (消能阀)
锥形阀是一种适合高水头、大流量工况,要求无振动、无气蚀运行,连续排放流量控制的新型阀门产品。由于采用倒置锥形柱塞阀芯而得名,简称锥形阀。又因其具有优异的消能效果,故又称消能阀。 锥形阀除了在流道终端设置有锥形阀芯之外,所有运动部件全部设置在阀门的过流通道外部,使得阀体内部流道通常顺滑,流量大而压降损耗少,其在整个工作范围内不会产生气蚀及振动,而且在小流量时仍具有良好的流量控制效果。本公司研制的锥形阀,结构为一个固定的倒置锥形,依靠水力设计形体及用来降低振动的4个导流翼叶片支撑,流量则由外部活动套管的前后移动来控制,阀体上分别设有金属对金属的阀座和补充性的软密封阀座,两者构成了复合式的阀座确保密封性能。在排放到大气中时,水流以宽广的锥形角度扩散,并分解为稀薄喷淋形态,将能量消耗在空气之中。通常根据实际需求,可以要求控制水流区域,则在出口安装一个不同形式的导流罩,这不仅能将空气与充分水混合,而且还集中流量。锥形阀测试的结果显示没有明显的振动,当固定锥形完全开启时,不论有导流罩或没有其排放系数都是0.9左右。 ZF锥形阀主要用于水电站、水库及城镇供排水领域。
1.产品概述
锥形阀是一种适合高水头、大流量工况,要求无振动、无气蚀运行,连续排放流量控制的新型阀门产品。由于采用倒置锥形柱塞阀芯而得名,简称锥形阀。又因其具有优异的消能效果,故又称消能阀。
锥形阀除了在流道终端设置有锥形阀芯之外,所有运动部件全部设置在阀门的过流通道外部,使得阀体内部流道通常顺滑,流量大而压降损耗少,其在整个工作范围内不会产生气蚀及振动,而且在小流量时仍具有良好的流量控制效果。
本公司研制的锥形阀,结构为一个固定的倒置锥形,依靠水力设计形体及用来降低振动的4个导流翼叶片支撑,流量则由外部活动套管的前后移动来控制,阀体上分别设有金属对金属的阀座和补充性的软密封阀座,两者构成了复合式的阀座确保密封性能。在排放到大气中时,水流以宽广的锥形角度扩散,并分解为稀薄喷淋形态,将能量消耗在空气之中。通常根据实际需求,可以要求控制水流区域,则在出口安装一个不同形式的导流罩,这不仅能将空气与充分水混合,而且还集中流量。锥形阀测试的结果显示没有明显的振动,当固定锥形完全开启时,不论有导流罩或没有其排放系数都是0.9左右。
ZF锥形阀主要用于水电站、水库及城镇供排水领域。
2.结构型式
1、锥形阀通过执行机构驱动外套筒来实现锥形阀的开启或关闭。外套筒式锥形阀又分倾斜式和水平式两种。
2、锥形阀有阀体、套筒、执行机构、连接管等部件组成。
3、执行机构有螺杆式、液压式、电动推杆式等种类。
4、锥形阀型号表示方法:
(此标注方式采用《中华人民共和国水利行业标注锥形阀参数、型式与技术条件SL498-2010》2010-11-20)
标注示例:
ZFLQ1.0-60:阀体内径为1.0m,设计水头60m,用螺杆启闭的倾斜式锥形阀。
ZFYS2.2-40:阀体内径为2.2m,设计水头40m,用液压启闭的水平式锥形阀。
3.结构原理
1、固定锥形阀的结构及工作原理
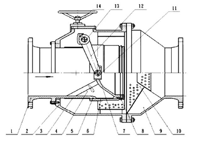
固定锥形阀结构简图如下:
1.喷管 2.阀体 3.导轨 4.叶片 5.密封圈 6.套筒闸 7.锥体 8.阀座
9.后阀体 10.导流罩 11.滑 12.摇臂 13.阀轴 14.驱动头
2、固定锥形阀的性能特点:
3.主要技术参数及性能特点
阀体材料:碳钢、不锈钢; 公称压力PN:0.6~4.0MPa; 公称通径DN:200~ 3000mm; 强度试验:PN×1.5;
密封试验:PN×1.1; 使用温度T:0~ 70℃; 连接形式:法兰、焊接; 适用介质:水、污水;
4.主要技术参数及性能特点
5.倾斜式锥形阀布置图见图A.1
6.水平式锥形阀布置图见图A.2
7.水利锥形阀使用特点
锥形阀大致可以分为埋设管(过过渡管)锥形阀体、套管、执行机构、拉杆及传动机构等几个部分。其阀体固定、执行机构通过传动机构启闭活动的外套筒,达到阀体的启闭。
锥形阀具有下列优点
水力条件好,具有较我公司其他阀门高的流量系数u=0.75—0.83或更高;
结构简单,重量轻;所有传动部件均设置在阀体之外,一目了然,便于维护检修;
启闭力小,操作轻便,可适用于无电源的中小形水利工程场所,可设置电、气、液动操作启闭结构,轻松实现遥控或无人值守自动运行;
泄流时喷出水舌为喇叭状,空中扩散掺气,消能效果好,简单消能池或不用做消能措施,如设置为淹没式出流,则水下之消能亦甚简单;
流体通过内部4导流翼进行均匀分割,不会产生旋涡和震动;
其阀门的启闭或流量控制则由外部套管的上下移动来带动锥形阀芯的动作实现控制,套筒与阀体之间通过导向环和О形圈实现导向和密封,使阀的流量系数与阀开度具备一定的比例关系;
针对不同状况和压力的流体介质,可以设置金属硬密封和塑软密封。采用高强度合金不锈钢耐磨阀座设计的复合密封结构兼具金属对金属硬密封和软密封的特性;
可限制发散角度,使流体分解为稀薄喷淋状态或环状对流达到冲击抵消的目的。同时适应不同现场的需求。
根据阀门水平线与中轴线夹角大小,以180°水平安装为常见,此外采用的方式有45°、60°、90°;
6. ZFL型锥形阀主要外形及连接尺寸表(企标)
7. 主要参考尺寸